该口腔装置是一种抗打鼾吹嘴,用于治疗睡眠呼吸暂停和大声打鼾。它的工作原理是将下巴保持在正确的位置,以保持气道畅通。
美国发明专利:US11051973B2
欧洲发明专利:EP3319563B1

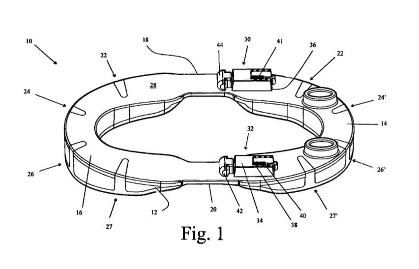
这是一种装置,其主体由一体式单件形成,具有用于接收佩戴者口腔上牙弓的第一托盘部分(16)和用于接收佩戴者口腔下牙弓的第二托盘部分(14)。

连接两个托盘部分的是两个连接部分(18)和(20),这两个连接部分是柔性的,两个托盘部分的设计或材料或设计与材料的组合是为了将托盘固定在使用者的牙齿上。类似结构均有侵权风险!