这款战术金属弹性腰带扣没有笨重扣环设计,贴合身形,穿着时隐形流畅,具备强伸缩回弹性,可随腰围变化自动调整,非常适合日常穿着、工作及户外活动。

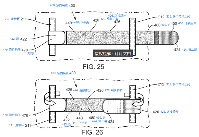
这个专利保护一种通过拉紧裤袢来调节裤腰的装置及相关方法。其核心是一个细长护套,两端用于缠绕并抓紧两个裤袢,通过将两端拉近并固定来使裤袢靠拢,从而收紧裤腰,同时要求两端在使用时保持基本共面,且所有紧固件只设置在护套的下平面。
该专利的保护范围以四个独立的装置权利要求为主体,分别对应四种不同的紧固方式组合(全对称钩环、按扣+钩环、刚性钩+钩环、磁铁+钩环),也就是说这四种形式都侵权!其中采用全对称钩环设计的权利要求保护范围最宽。