这款宠物缓食碗可以处理任何液体零食,无论是丰富的自制骨汤、奶油酸奶,甚至是特殊配方的液体补充剂,创新的滚动球在液体中产生轻柔的移动,模仿自然水流。 这不仅能保持液体氧化和新鲜,而且还鼓励您的爱犬多喝。 滚动球设计可以减少溅起和溢出。
美国发明专利:US12156515B2
日本发明专利:JP2024067933A
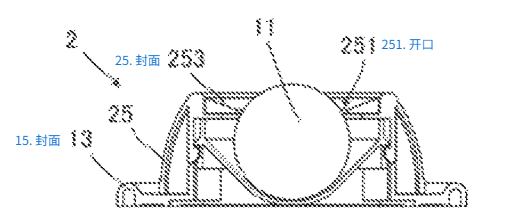
本发明涉及一种能够少量多次地供给液态宠物食品的工具,其包括:一个球体;一个可旋转地支撑该球体并容纳液态宠物食品的容器;以及一个覆盖该容器的盖子,该盖子具有一个开口,该开口使容器内的球体暴露在外部。随着球体的旋转,粘附在球体表面的宠物食品从开口处露出。
只要一个宠物喂食工具同时满足以下所有特征,就落入了它的保护范围:

三个核心部件:一个球、一个装流食(如肉泥、营养膏)并能让球转起来的容器、一个带开口的盖子。
工作方式:球一转,表面沾的流食就从盖子开口露出来,让宠物舔食。
盖子有特殊设计:开口周围不是平的,而是有一个向上、向外翘的斜面(防止食物飞溅或便于回流?)。
容器底部有特殊设计:底部不是简单的平板,它中心是平的(用来放球),边缘是向上、向外撇开的(可能与球的旋转稳定、食物引导或清洁有关)。